«Абрамсу» на зависть: есть ли в современных российских танках аварийный люк в днище?

0 11

Иностранная военная техника часто ассоциируется у людей с комфортом. Что ни машина, то огромная, просторная внутри, с кондиционером, разве что напитки не разносят. На этом фоне некоторые пинают машины отечественные, особенно сконструированные еще в СССР. Возьми любую: от БМП до танков — маленькие, тесные, лишенные каких-либо удобств.

Конечно, комфорт — дело нужное. Солдат должен вступать в бой не промокшим от пота и с онемевшими от тесноты ногами, а свежим, бодрым и отдохнувшим. В то же время делать упор на комфорт, пренебрегая безопасностью — более проигрышный вариант, нежели наоборот. Именно так поступили американцы, решив не оснащать свои основные танки М1А2 "Абрамс" люком аварийного выхода.

Более того, сам процесс покидания танка некоторыми членами экипажа осложнен в силу конструктивных особенностей машины. Например, мехвод не сможет (или с большим трудом) покинуть неисправный танк, если башня с массивной кормовой надстройкой повернута в обратную сторону.

Выглядит это примерно так:

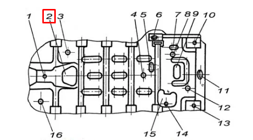
В то же время отечественная школа танкостроения позаботилась о безопасности экипажа гораздо больше. Так, если основные люки оказались заблокированы (обломками зданий, деревьями, танк перевернулся), экипаж всегда сможет покинуть машину через аварийный люк. Его расположение отмечено на схеме цифрой 2.

Если смотреть изнутри, он находится непосредственно за рабочим местом механика-водителя.

Снаружи люк выглядит следующим образом:

Спасибо за просмотр!

Больше фотографий и заметок публикую в своем Telegram-канале. Буду рад новым визитам и там!

По материалам: dzen.ru
Оставить комментарий

Мы используем файлы cookie. Продолжив использование сайта, вы соглашаетесь с Политикой использования файлов cookie и Политикой конфиденциальности Принимаю

Privacy & Cookies Policy